再也不用一直配鏡! Apple提交新專利「智能眼鏡」可瀏覽手機、自動調整度數
2021年06月21日美國專利商標局(USPTO)的一項專利顯示,蘋果對於Apple Glass可能有全新的設計。Apple Glass可能會搭載「自動對焦人眼」的鏡片,透過這種鏡片來適應視力不佳的用戶的情況,聽起來非常酷!

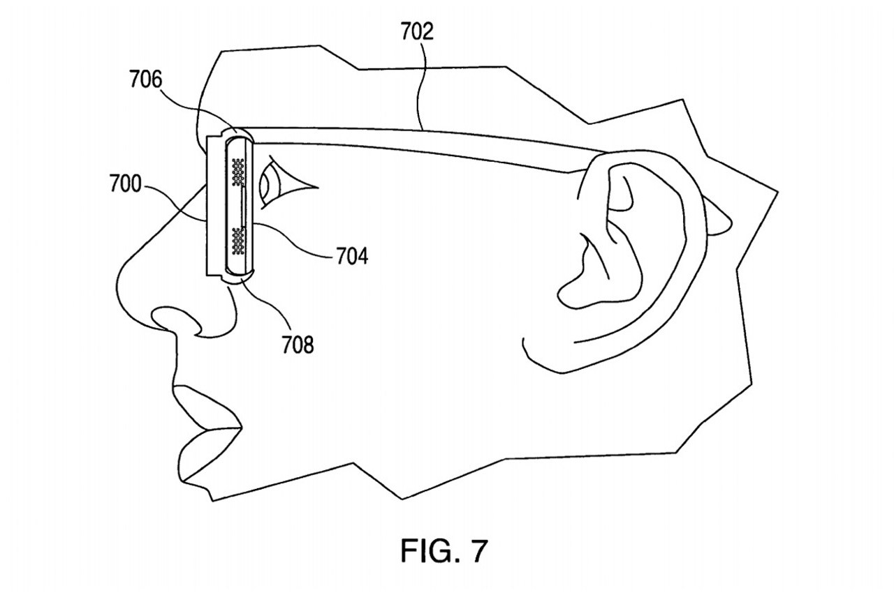
▼在這項專利中,蘋果提出了一種全新的系統。這種系統是由多個鏡片製造而成的,利用光學元件把iPhone上的畫面直接呈現在用戶眼前。雖然螢幕距離人眼很近,但看起來不會失焦。

▼這一系統會用眼鏡或隱形眼鏡的度數訊息來調整光學元件的配置,從而適應用戶的視力。專利中還暗示,該系統有處理器,能根據用戶自定義的配置來切換。除了複雜的光學組件,用戶還能調整顯示器,讓圖像更清晰。

▼這項專利的發明人為蘋果設計專利負責人和專利組合經理Quin C. Hoellwarth。不過蘋果經常提交專利,這只能說明蘋果在關注這一方向,並不是說所有的專利都會實際運用到蘋果的產品上。

之前也有知情人士透露Apple Glass的相關訊息,表示Apple Glass的售價會因為鏡片度數不同而不同。看來這種自動對焦人眼的技術不會在第一代Apple Glass上出現,期待以後的產品能更加先進吧。
來源:網路資料